新型干粉砂浆生产设备流程
来源:IM官方版网站登录入口-IM(中国) 浏览次数:6338次 更新日期:2013-07-19

用途广泛:主要应用于建材、化工等行业的干粉砂浆、砂浆王、砌筑砂浆、耐磨地坪、内外墙腻子粉、粉刷石膏、干粉粘合剂及各种纤维素和干粉状化工材料的混合搅拌。
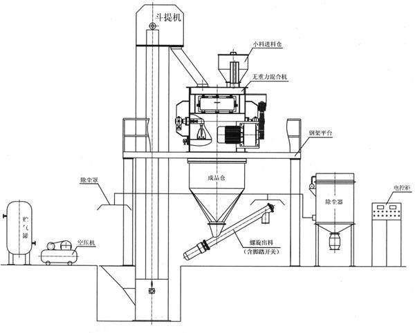
主要配置:加料斗、斗式提升机,待混仓,三轴无重力混合机,成品仓,均化喂料机,全自动计量包装,脉冲除尘器,平台支架爬梯护栏,电器控制柜等组成。
性能特点:设备设计合理,性能稳定,密封精密,收尘效率高,操作简单,生产效率高,4-6人即可生产。具有物料混合均匀,混合时间短,输出动力小,坚固耐用,维修方便等优点。
主要技术指标:
|
型 号
|
总功率
(kw)
|
规格
(吨/次)
|
产量
(t/h)
|
外形尺寸(mm)
长x宽x高
|
|
YT-
|
22.7
|
1
|
6-8
|
4000x4200x6500
|
|
YT-
|
26.7
|
2
|
8-10
|
4000x4500x6500
|
最新评论和留言:
评论或留言:(如需咨询相关设备,请直接致电四川IM官方版
机械新都石板滩生产厂区销售部:028-83053368)
当前位置:


